
Nintendo seems to be addressing issues and upgrading the dock for the Switch with a newly filed patent dated April 2, 2024. Read on to learn more about the patented dock upgrade.
Nintendo Files Patent for Modified Switch Dock
Allows Easier Cable Management via a Rotating Input/Output Swivel Block Support

- current Switch Dock design
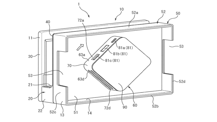
Nintedo's new patent for the Switch Dock outlined a device holder capable of holding a "portable electronic device," such as the Switch, with a swivel block attached to allow rotation. This swivel block support features connectors for video output and input devices, which primarily targets cable management.
The current Switch Dock has limitations with wire connections, with ports positioned on the left-hand side, which had been noted to be inconvenient for some users. Nintendo seems to be addressing this issue with the newly filed patent. Essentially, the patented upgraded version can streamline cable wire connections from the dock itself to other devices, such as a TV or monitor. "Accordingly, the operation of laying the cables to be connected to the device holder can be kept from being troublesome," read the patent.

- screenshot of patent showing the rotating Input/Output Panel
However, it is important to note that patents don't always materialize into actual products. The likelihood of the new features being implemented in current Switch models appears slim, considering the console is at the end of its life cycle. It could suggest, however, that is a feature to anticipate in future Nintendo consoles, possibly in the rumored Switch 2. Even then, Nintendo still continues with Switch support.
Source:
Copy of NINTENDO CO., LTD. Switch Dock Patent
Nintendo Files Patent To Ease 'Troublesome' Switch Dock Wires



















