
Electronic Arts (EA) patented a new technology that aims to let gamers voice-act as their in-game characters. Read more to learn about the details of this new technology that could be the future of video games.
EA Patents New Technology
Players Can Voice-Act in Games

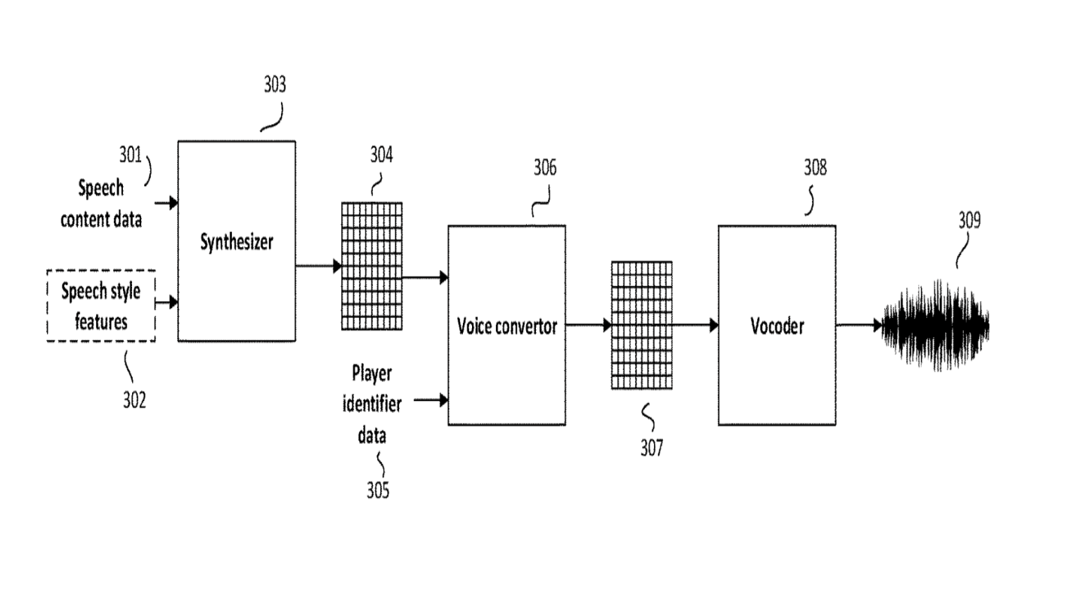
According to the outlines of EA's new technology dubbed "GENERATING SPEECH IN THE VOICE OF A PLAYER OF A VIDEO GAME" involves "inputing, into a synthesizer module, input data that represents speech content." The synthesizer module briefly records the player's speech audio and then generates the audio using a voice converter.

In order to replicate the player's voice for the in-game character, the voice converter at the center of the patent combines an acoustic feature encoder with the player’s audio, resulting in the player’s voice being featured in the game.
Train The Technology

EA’s patent technology will let the player train the synthesizer when they provide it with multiple voice samples. This will ensure the player’s voice is more accurate and realistic in the game. According to the patent notes, this method can capture non-verbal elements of speech like tone, emotions, and emphasis.
"The acoustic feature encoder and acoustic feature decoder are initially trained prior to adding a new player’s voice and are subsequently refined when the player adds their voice and provides player speech samples."

The patent also mentions that text can be used as input data. This will enable users to type the dialogue they want their character to say. Although it’s still unsure how this feature will be incorporated.
The system is currently just a patented concept so EA has not disclosed what games will integrate this voice feature. There has yet to be an update or release date, so stay tuned for future updates.
Source:
GENERATING SPEECH IN THE VOICE OF A PLAYER OF A VIDEO GAME
EA Working On Player-Voiced Characters In Games















